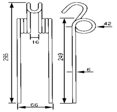
Schwaderzinken für Heuwender PÖTTINGER 436120 - Nachbau
Referenz : 188423
Versand durch Agryco
Unsere Vorteile

Beratung
Geld-zurück-Garantie
Sicher
bezahlen