Kreiseleggenzinken kurz LELY RH1 3557640213705 - Nachbau Referenz : 203342 Versand durch Agryco Weiterlesen
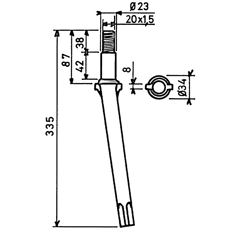
Produktbeschreibung Geeignet für LELY Länge (mm) 335 Ref. Bolzen 5972144 Original oder Nachbau Nachbau Gewindedurchmesser (mm) 20 Garantie 1 Jahr
Entdecke unser Sortiment : Splinte und Bolzen Zinkenträger Bolzenverbindungen Sonstiges Dichtung Zahnrad und Achse Ring und Buchse Radlager/Lager Abstreiferblech Leitblech und Schutzteile